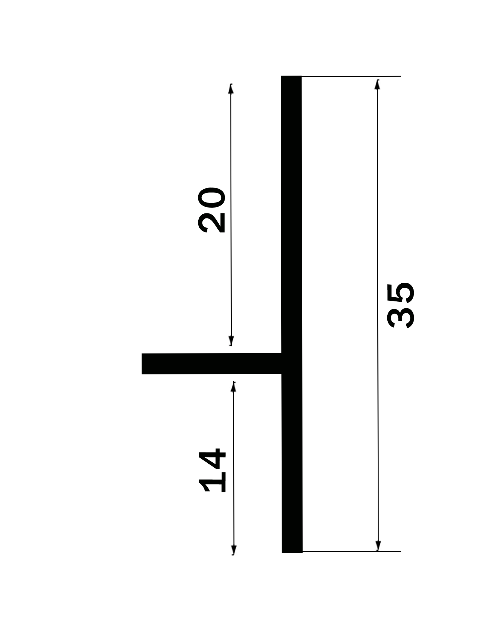
Теневой напольный плинтус высотой 35 мм и длиной 300 см — является популярным элементом декора современных интерьеров.
Этот плинтус скрытый предназначен для монтажа на стыке пола и стены, создавая эффект тени, которая придает стенам трехмерный вид.
Он обеспечивает гладкую, бесшовную поверхность и может быть окрашен в любой цвет, чтобы соответствовать интерьеру.
Уникальность данного профиля заключается в том, что теневой плинтус полностью утапливается в стену/карниз, создавая реальное ощущения парения стены в пространстве. Теневой зазор составляет 20 мм. Также данный профиль можно перевернуть и теневой зазор будет 14 мм. Оба варианта подходят для монтажа.
Этот скрытый плинтус подходит для различных типов напольных покрытий, таких как ламинат, керамогранит, инженерная доска.
Монтаж данного теневого плинтуса очень простой и легкий, крепится на жидкие гвозди или герметик.
Фурнитура к данному профилю не предусмотрена. Монтаж стык в стык.
В целом, теневой напольный плинтус является отличным выбором для тех, кто хочет обновить свой интерьер, добавив в него изюминку.
Этот элемент декора поможет создать стильный и современный вид, который будет радовать глаз и вызывать восхищение гостей.




Отзывы
Отзывов пока нет.